TB 9-6625-1966-35
b. Adjustments.
Set function generator CHANNEL A function switch to
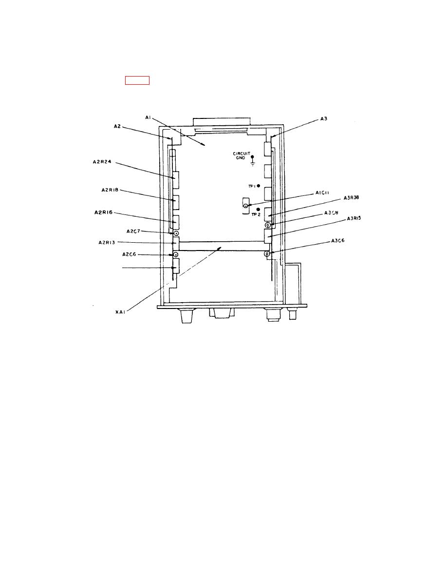
SQUARE
and adjust A2R24 (fig. 6) until multimeter indicates same voltage reading at both ends of
FINE control rotation (R).
A2R11
a. Performance Check
(1) Position function generator controls as listed in (a) through (d) below:
(a)
(b)
RANGE selector switch to X10K.
(c)
CHANNEL A function switch to PLUG-IN.
(d)
CHANNEL A AMPLITUDE control fully cw.
(2) Position controls as listed in (a) through (d) below:
(a)
DC OFFSET selector switch to 0.
(b)
SWEEP WIDTH control to OFF.
(c)
CHANNEL A and B slide switches to OFFSET SQUARE.
(d)
OFFSET SQUARE slide switch to + (positive).