TB 9-6625-1957-35
(6) Reduce calibrator output to minimum.
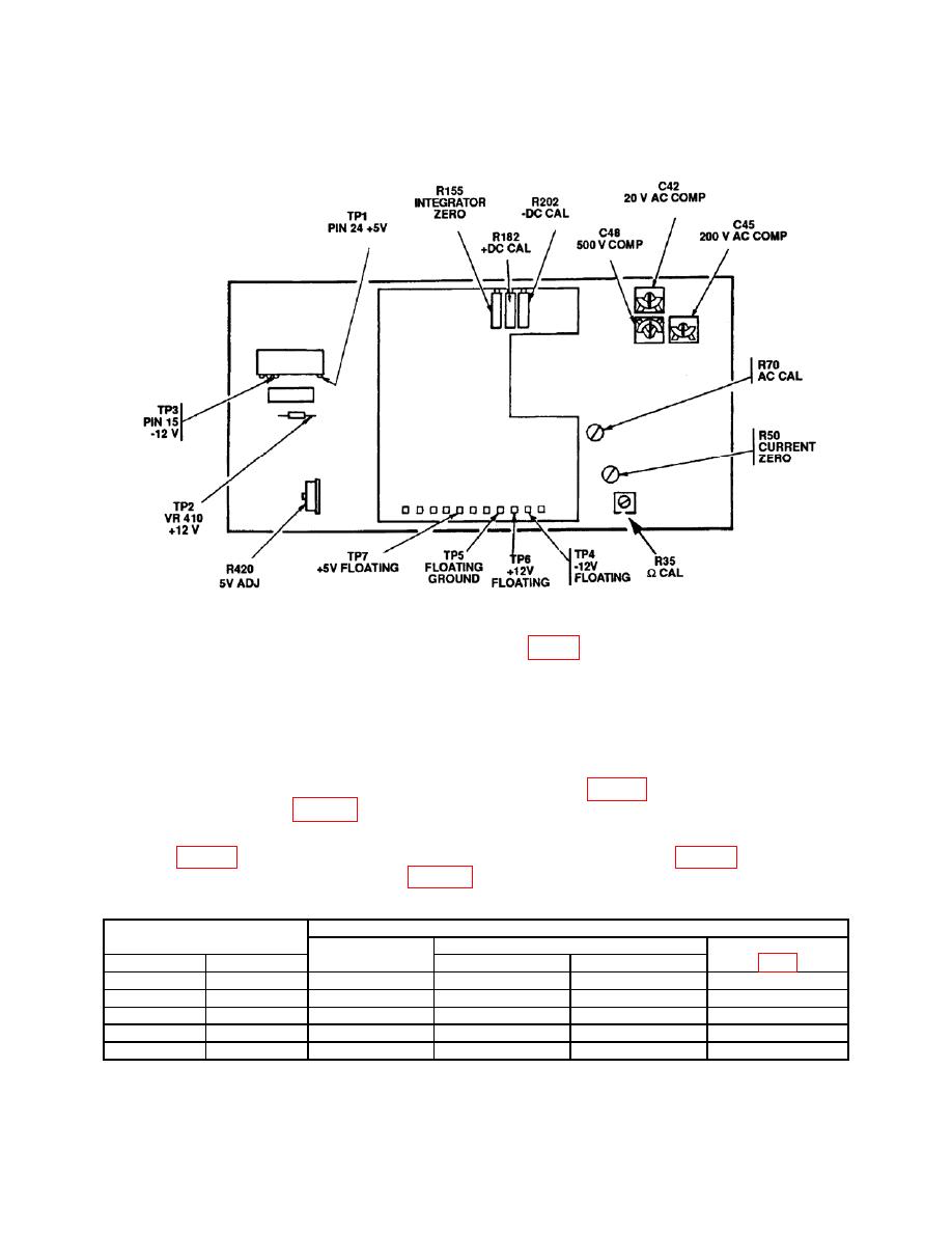
Figure 1. Tektronix, Type DM
501 -
left side view.
b. Adjustments. Adjust R155 INTEGRATOR
ZERO (fig. 1) until TI
indicates all
zeros.
a. Performance Check
(1) Set RANGE/FUNCTION switch to 2 AC VOLTS.
(2) Set calibrator for an output amplitude of 1.8 V at an output frequency of 1 kHz.
If TI does not indicate within limits specified in first row of table 4, perform corresponding
(3) Repeat technique of (1) and (2) above using TI settings and calibrator outputs
listed in table 4 below. If TI does not indicate within limits specified in table 4, perform
corresponding adjustment as listed in table 4.
Calibrator
Test instrument
output
Range/Function
indications
Adjustments
Amplitude
setting
Min
Max
1.8 V
1.0 kHz
2 AC VOLTS
1.7872
1.8128
R70 AC CAL
18 V
8.0 kHz
20 AC VOLTS
17.872
18.128
C42 20 V AC COMP
180 V
8.0 kHz
200 AC VOLTS
178.72
181.28
C45 200 V AC COMP
450 V
8.0 kHz
500 AC VOLTS
446.7
453.4
C48 500 V COMP
450 V
20.0 kHz
500 AC VOLTS
444.4
455.6