TB 9-6625-2084-35
8. Vertical Gain and Linearity
a. Performance Check
CAUTION
Set power switch to OFF when installing and removing plug-ins.
(1) Adjust calibration fixture position control to align intensified trace on horizontal
graticule center line. If TI does not display 6 divisions .5 minor division of vertical
deflection for 7 center horizontal lines, perform b (1) below.
(2) Remove calibration fixture from left vertical compartment and install in right
vertical compartment.
(3) Press VERT MODE RIGHT and TRIG SOURCE RIGHT pushbuttons.
(4) Repeat technique of (1) above. If TI does not display 6 divisions .5 minor
division of vertical deflection for 7 center horizontal lines, perform b below.
b. Adjustments
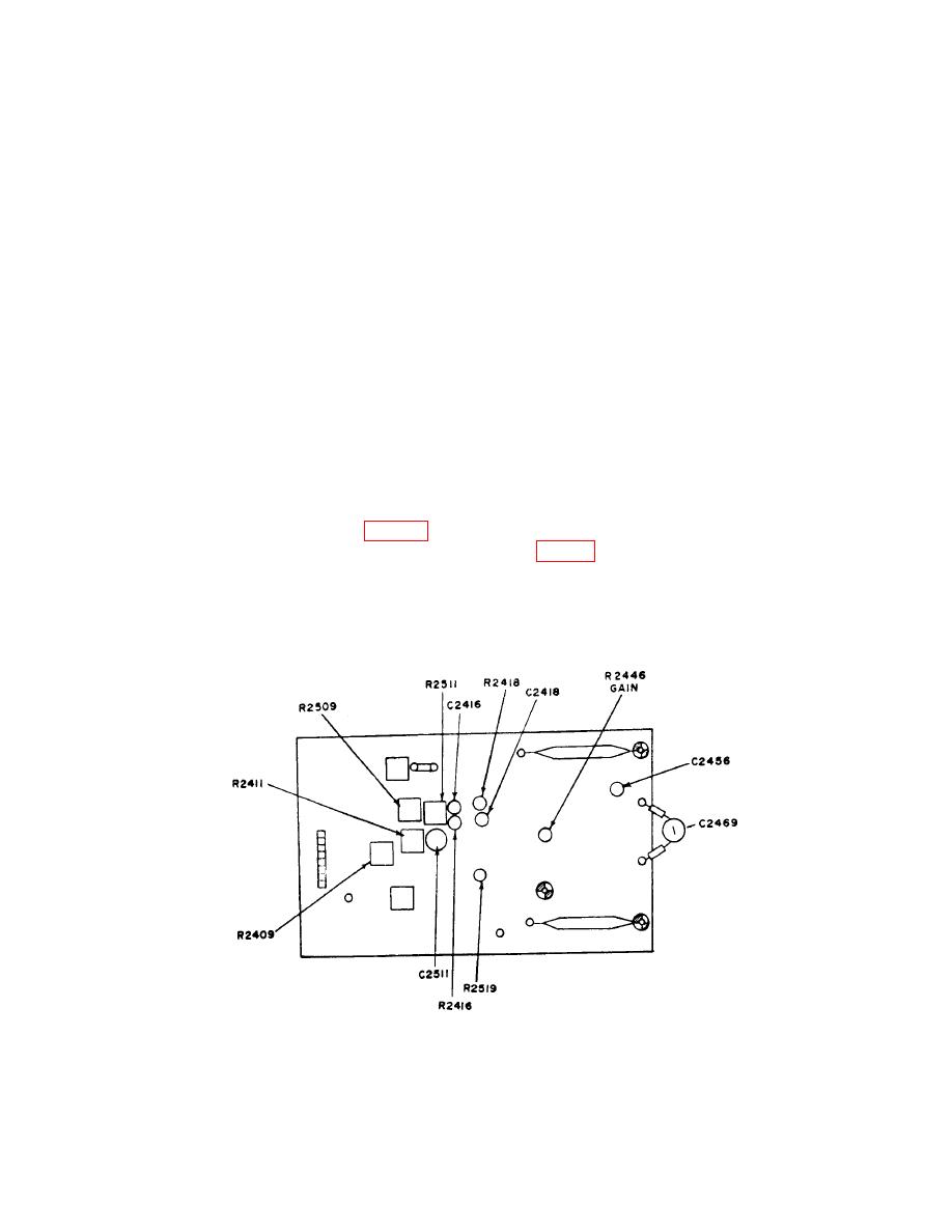
(1) Adjust GAIN R2446 (fig. 1A) for Types 7613/R7613 with SN B150000 and above,
7633/R7633, 7623 and 7623A/R7623A. Adjust R447 (fig. 1B) for 7623 and 7613/R7613 with
SN B149999 and below for 6 divisions of vertical deflection (R).
(2) Repeat technique of a (1) through (4) above for best compromise and optimum
gain for both vertical compartments (R).
Figure 1A. Board A5 adjustments - left side view - Tektronix, Types 7613/R7613, SN B150000 and above,
7623A/R7623A and 7633/R7633.