• Home
  • Download PDF
  • Order CD-ROM
  • Order in Print
Table 4. Ch 2 Vertical Gain
Risetime

Calibration Procedure For Dual Trace Amplifiers Am-6880/U (Type 7A18), Types 7A18A, 7A18A With Option 6, And Am-6785/U (Type 7A26) Page Navigation
  2    3    4    5    6  7  8    9    10    11    12  
img
. . . . . .
TB 9-6625-2099-24
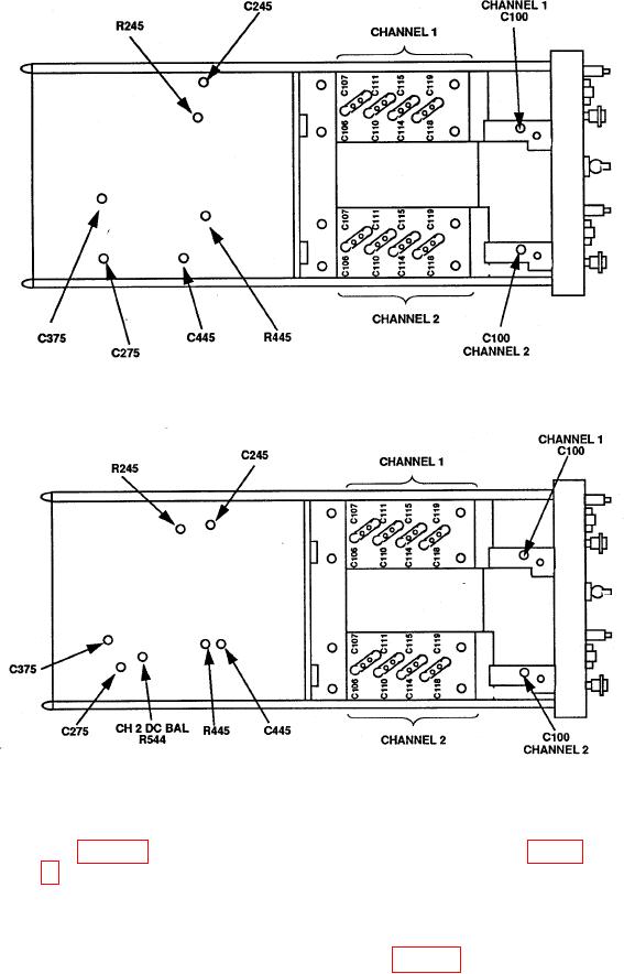
Figure 1. AM688/U (Tektronix, Type 7A18) - left side view.
Figure 2. Tektronix, Type 7A18A and 7A18A w/option 06 - left side view.
NOTE
Use figure 1 for AM-6880/U (Tektronix, Type 7A18), and figure
2 for Tektronix, Type 7A18A and 7A18A w/option 06.
(23) Set CH I VOLTS/DIV switch to 10 mV and adjust calibration generator output
controls for a 6 division display.
(24) Using corresponding adjustments listed in table 5, adjust for optimum square
wave on display.
7


Privacy Statement
Press Release
Contact

© Copyright Integrated Publishing, Inc.. All Rights Reserved.